【產品用途】
集團生產的不銹鋼閘閥:閥體、閥蓋、閘板、閘桿使用不銹鋼材料,閥座密封面為聚四氟乙烯、不銹鋼+硬質合金或堆焊硬質合金,填料一般采用硬質合金、聚四氟乙烯、石棉石墨或柔性石墨。公稱尺寸 DN15~DN800,工作壓力 1.6MPa~20.0MPa,適用溫度 ≤200℃,適用于硝酸類、弱腐蝕性介質管路中。
【產品特點】
1、采用奧氏體不銹鋼,對氧化性酸介質擁有良好的耐蝕性。
2、介質流經不銹鋼閘閥時不改變其流動方向,流體阻力小。
3、閘板運動方向與介質流動方向相垂直,啟閉力矩小,開閉較省力。
4、介質流動方向不受限制,不擾流、不降低壓力,介質可從閘閥兩側任意方向流過、均能達到使用的目的,適用于介質流動方向可能改變的管路中。
5、閘板垂直置于閥體內,結構長度較短。
6、密封性能好。全開時密封面受沖蝕較小。
【執行標準】
設計規范:GB/T 12234
結構長度:GB/T 12221
連接法蘭:JB/T 79.1
試驗與檢驗:JB/T 9092
壓力-溫度:GB/T 9131
產品標識:GB/T 12220
【性能參數】
|
公稱壓力PN(MPa)
|
殼體
|
試驗壓力(MPa)
|
上密封
|
|
密封(液)
|
密封(氣)
|
|
1.6
|
2.4
|
1.8
|
0.6
|
1.8
|
|
2.5
|
3.8
|
2.8
|
0.6
|
2.8
|
|
4.0
|
6.0
|
4.4
|
0.6
|
4.4
|
|
6.4
|
9.6
|
7.0
|
0.6
|
7.0
|
|
10.0
|
15.0
|
11.0
|
0.6
|
11.0
|
|
16.0
|
24.0
|
18.0
|
0.6
|
18.0
|
【適用介質和適用溫度】
|
殼體材料
|
適用介質
|
適用溫度(℃)
|
|
鉻鎳鈦鋼(P型)
|
硝酸類
|
≤200
|
|
鉻鎳鉬鈦鋼(R型)
|
醋酸類
|
≤200
|
【主要零件材料】
|
閥體、閥蓋
|
閥板、閥座
|
閥桿
|
閥桿螺母
|
填料
|
手輪
|
|
鉻鎳鈦鋼
|
不銹鋼、不銹鋼+硬質合金
|
鉻鎳鈦不銹鋼
|
鋁青銅
|
聚四氟乙烯
|
可鍛鑄鐵
|
|
鉻鎳鉬鈦鋼
|
不銹鋼、不銹鋼+硬質合金
|
鉻鎳鈦不銹鋼
|
鋁青銅
|
聚四氟乙烯
|
可鍛鑄鐵
|
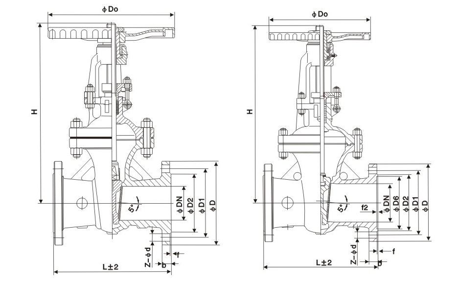
【主要外形和連接尺寸】
|
公稱通徑
|
主要外形尺寸和連接尺寸
|
|
L
|
D
|
D1
|
D2
|
b
|
Z-d
|
H
|
D0
|
|
Z41W-16P
|
|
15
|
130
|
95
|
65
|
45
|
14-2
|
4-Φ14
|
170
|
120
|
|
20
|
150
|
105
|
75
|
55
|
14-2
|
4-Φ14
|
190
|
140
|
|
25
|
160
|
115
|
85
|
65
|
14-2
|
4-Φ14
|
205
|
160
|
|
32
|
180
|
135
|
100
|
78
|
16-2
|
4-Φ18
|
270
|
180
|
|
40
|
200
|
145
|
110
|
85
|
16-3
|
4-Φ18
|
310
|
200
|
|
50
|
250
|
160
|
125
|
100
|
16-3
|
4-Φ18
|
358
|
240
|
|
65
|
265
|
180
|
145
|
120
|
18-3
|
4-Φ18
|
373
|
240
|
|
80
|
280
|
195
|
160
|
135
|
20-3
|
8-Φ18
|
435
|
280
|
|
100
|
300
|
215
|
180
|
155
|
20-3
|
8-Φ18
|
500
|
300
|
|
125
|
325
|
245
|
210
|
185
|
22-3
|
8-Φ18
|
614
|
320
|
|
150
|
350
|
280
|
240
|
210
|
24-3
|
8-Φ23
|
674
|
360
|
|
200
|
400
|
335
|
295
|
265
|
26-3
|
12-Φ23
|
811
|
400
|
|
250
|
450
|
405
|
355
|
320
|
30-3
|
12-Φ25
|
969
|
450
|
|
300
|
500
|
460
|
410
|
375
|
30-3
|
12-Φ25
|
1145
|
580
|
|
350
|
550
|
520
|
470
|
435
|
34-4
|
16-Φ25
|
1280
|
640
|
|
400
|
600
|
580
|
525
|
485
|
36-4
|
16-Φ30
|
1452
|
640
|
|
Z41W-25P
|
|
15
|
130
|
95
|
65
|
45
|
16-2
|
4-Φ14
|
170
|
120
|
|
20
|
150
|
105
|
75
|
55
|
16-2
|
4-Φ14
|
190
|
140
|
|
25
|
160
|
115
|
85
|
65
|
16-2
|
4-Φ14
|
205
|
160
|
|
32
|
180
|
135
|
100
|
78
|
18-2
|
4-Φ18
|
270
|
180
|
|
40
|
200
|
145
|
110
|
85
|
18-3
|
4-Φ18
|
310
|
200
|
|
50
|
250
|
160
|
125
|
100
|
20-3
|
4-Φ18
|
358
|
240
|
|
65
|
265
|
180
|
145
|
120
|
22-3
|
8-Φ18
|
373
|
240
|
|
80
|
280
|
195
|
160
|
135
|
22-3
|
8-Φ18
|
435
|
280
|
|
100
|
300
|
230
|
190
|
160
|
24-3
|
8-Φ23
|
500
|
300
|
|
125
|
325
|
270
|
220
|
188
|
28-3
|
8-Φ25
|
614
|
320
|
|
150
|
350
|
300
|
250
|
218
|
30-3
|
8-Φ25
|
674
|
360
|
|
200
|
400
|
360
|
310
|
278
|
34-3
|
12-Φ25
|
811
|
400
|
|
250
|
450
|
425
|
370
|
332
|
36-3
|
12-Φ30
|
969
|
450
|
|
300
|
500
|
485
|
430
|
390
|
40-4
|
16-Φ30
|
1145
|
580
|
|
350
|
550
|
550
|
490
|
448
|
44-4
|
16-Φ34
|
1280
|
640
|
|
400
|
600
|
610
|
550
|
505
|
48-4
|
16-Φ34
|
1452
|
640
|
【結構圖片】
